Installing and replacing the CleanAir+ filter

Resolution

The CleanAir+ filter is an activated carbon filter that absorbs bad odours and allows you to preserve the best flavour and aroma for all foodstuffs without the risk of odour cross-contamination.

Handle the air filter carefully to avoid scratching its surface.

On delivery, the air filter is in a plastic bag to preserve performance.

Install the air filter before activating the appliance.

1. Unpack the air filter from the plastic bag.

2. Open the plastic housing and put the pleated surface on the grid, fitting the filter inside the marked area on the gridded surface.

3. Hold the filter down while closing the plastic housing until you hear a click.

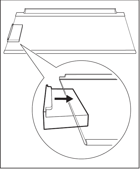
4. Remove the top glass shelf from the fridge compartment. Slip the plastic housing with the air filter on the left side of the glass shelf.

5. Insert the glass shelf back into the fridge compartment. Be careful not to hit the filter when inserting the glass shelf.

Replacing the air filter

1. Open the plastic housing.

2. Pull out the used air filter.

3. Unpack the new air filter from the plastic bag and insert it in the drawer.

4. Close the plastic housing.

5. After the filter replacement, press the Filter Reset alarm button on the control panel to turn off the alert.

For best performance, place the plastic housing in the proper location (to the left of the glass shelf) and replace the air filter every 6 months.

The air filter is a consumable accessory and as such is not covered by the guarantee. You can purchase new air filters from your local dealer.

Was this article helpful?

Spare parts & Accessories

Find original spare parts for your appliance in our webshop and have them delivered directly to your door.

To the webshop

Find your User Manual

Solve problems and find instructions and other documentation for your product.

Download manual